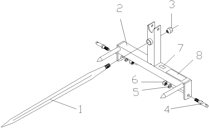
3-Pt. Bale Spear BSF-1523 Parts List
3-Pt. Bale Spear BSF-1523 Parts List
2,000 Lb. 3PT Bale spear

Ref. #
Part #
Description
# Req.
1
831290
Tine, Hay 49.2" Forged Replaces 831273
1
2
830236
Main Frame Weldment
1
3
831291
Nut, Hay Tine -M28
1
4,5,6
590108
Pin, Lift Ass'y (AK-578)
2
7
101112
Safety Sign - Notice (1800 Lb. Capacity)
1
8
101026
Safety Sign - Caution (Instructions)
1