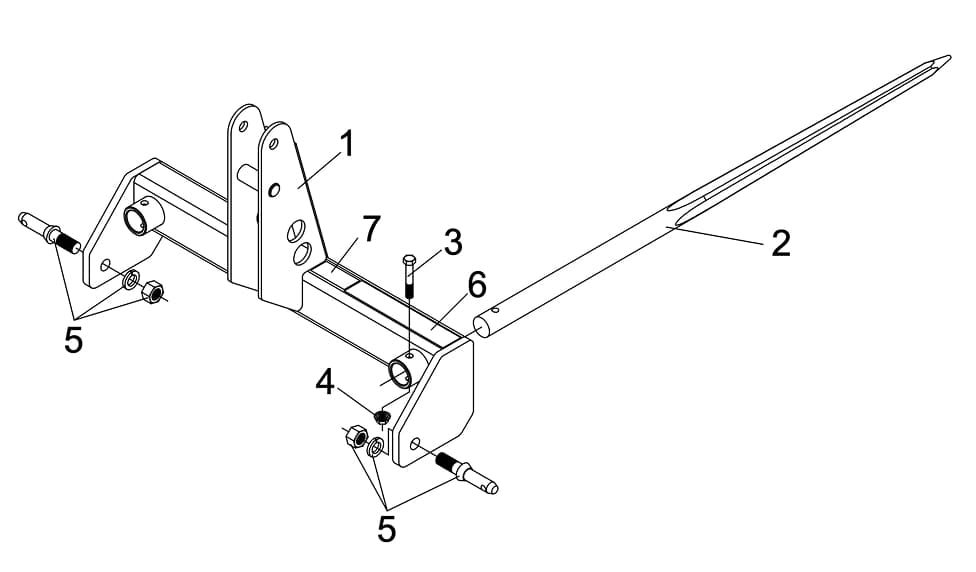
3-Pt. Bale Spear HS-3000 Parts List
3-Pt. Bale Spear HS-3000 Parts List
3000lb. Dual Bolt-in 3-pt. Bale Spear

Ref. #
Part #
Description
# Req.
1
830766
Main Frame Weldment HS-3000
1
2
830928
Forged Spear (Bolt-in) 47.25"
2
3
2503012
Bolt 1/2" - 13NC x 3" Hex Head Gr.2
2
4
2500040
Nut 1/2" - 13NC Whiz Flange Hex
2
5
590108
Draw Pin (AK-578)
2
6
101277
Safety Sign - Warning (Read Owner's Manual)
1
7
101127
Safety Sign - Warning (Always Insert Spears)
1