3-Pt. Bale Spear HS-330 Parts List
3-Pt. Bale Spear HS-330 Parts List
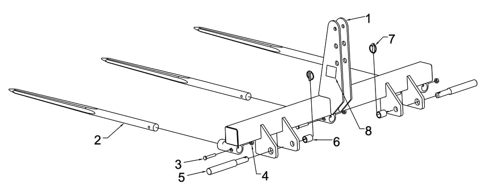
3000lb. Triple Bolt-in 3-pt. Bale Spear

Ref. #
Part #
Description
# Req.
1
832581
Main Frame Weldment HS-330
1
2
830928
Spear, Forged (Bolt-in)
3
3
2503012
Bolt, Hex 1/2-13NC x 3.00 G2
3
4
2500054
Nut, 1/2-13NC Hex Stamploc
3
5
380142
Pin, Step-Pull 11.99 (2-3)"
2
6
590126
AK-58 Lift Arm Bushing
2
7
590006
AK-14 Linch Pin 7/16"
2
8
101127
Safety Sign-Warning (Insert Spears)
1