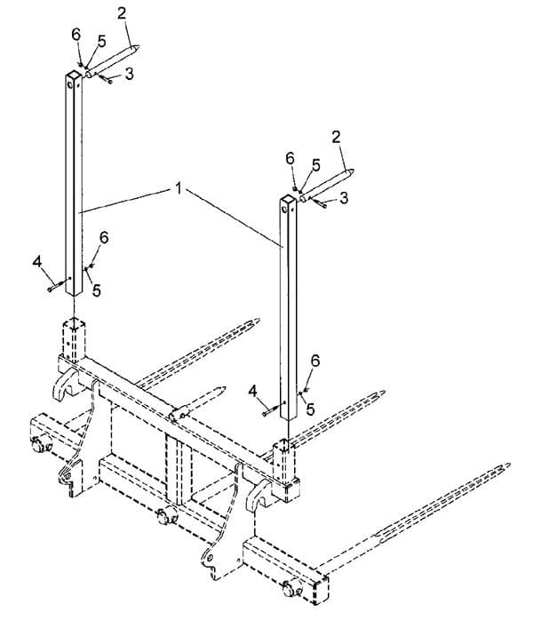
Euro/Global Integrated Frame Bale Spears Optional Upright Kit Parts List
Euro/Global Integrated Frame Bale Spears Optional Upright Kit Parts List

Ref. #
Part #
Description
# Req.
1
832285
Tube, Vertical Backstop
2
2
830213
Balance Spike
2
3
2503039
Bolt 3/8" - 16NC x 2-1/2" Hex Head Gr.2
2
4
2503209
Bolt 3/8" - 16NC x 3" Hex Head Gr.2
2
5
2502008
Washer 3/8" Springlock
4
6
2500004
Nut 3/8" -16NC Full Hex
4