Front Loader Bale Spears FLBS-2200 Parts List
Front Loader Bale Spears FLBS-2200 Parts List
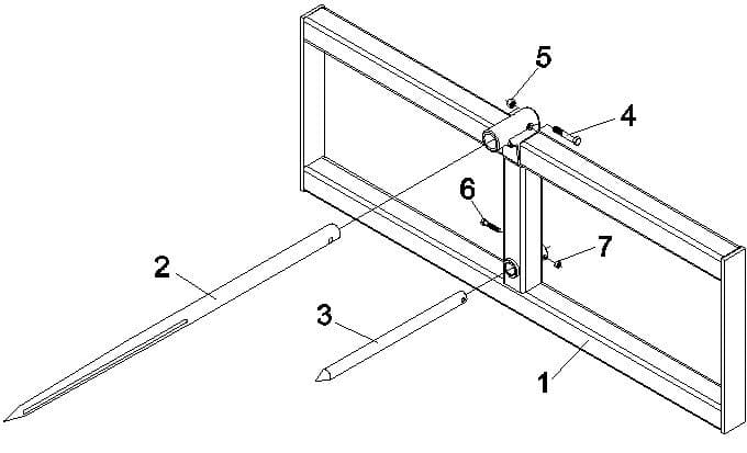
Loader Bale Spear
 
                                                Ref. #
Part #
Description
# Req.
1
832381
Main Frame Weldment (FLBS-2200)
1
2
830928
Spear, Bolt-in (47.25")
1
3
830938
Spear 1 1/4" Dia. X 21"
1
4
2503012
Bolt 1/2" - 13NC x 3" Hex Head Gr. 2
1
5
2500054
Nut 1/2" - 13NC Hex Stamplock
1
6
2503205
Bolt 3/8" - 16NC x 2 1/2" Hex Head Gr. 5
1
7
2500055
Nut 3/8" - 16NC Hex Stamplock
1
