Integrated Frame Bale Spears GLB-2200 Parts List
Integrated Frame Bale Spears GLB-2200 Parts List

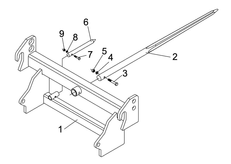
Ref. #
Part #
Description
# Req.
1
832145
Main Frame Weldment (GLB-2200)
1
2
830928
Spear, Bolt-in (47.25")
1
3
2503012
Bolt 1/2" - 13NC x 3" Hex Head Gr.2
1
4
2502002
Washer 1/2" Springlock
1
5
2500003
Nut 1/2" - 13NC Full Hex
1
6
830213
Balance Spike
2
7
2503120
Bolt 3/8" - 16NC x 1 3/4" Hex Head Gr. 5
2
8
2502008
Washer 3/8" Spring Lock
2
9
2500004
Nut 3/8" - 16NC Full Hex
2
NS
101277
Safety Sign - Warning (Read Manual)
1
NS
101474
Safety Sign - Warning (Lockpins)
1