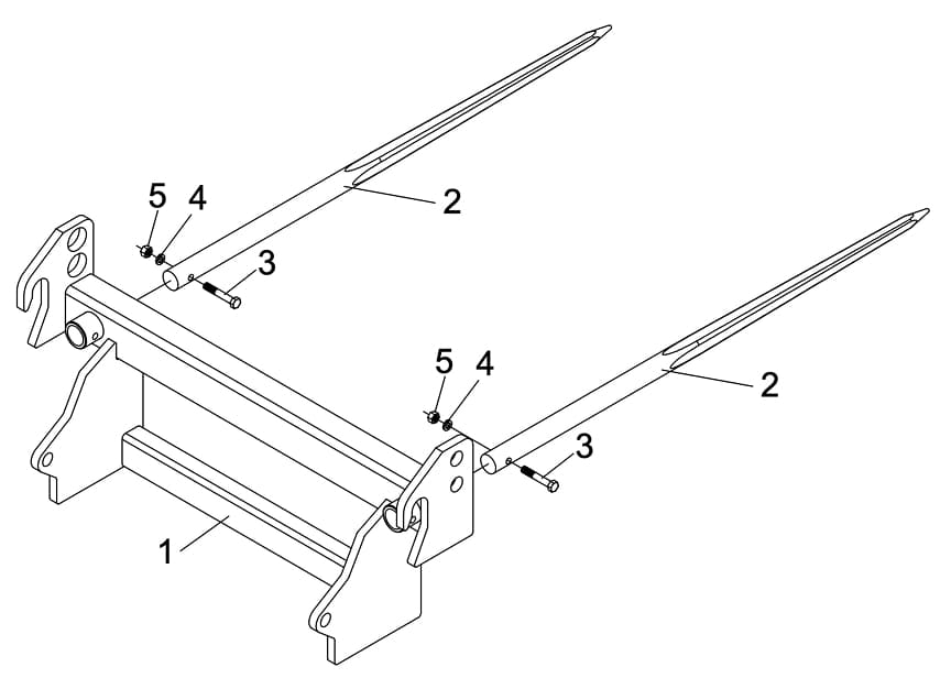
Integrated Frame Bale Spears GLB-3000 Parts List
Integrated Frame Bale Spears GLB-3000 Parts List

Ref. #
Part #
Description
# Req.
1
832155
Main Frame Weldment (GLB-3000)
1
2
830928
Spear, Bolt-in (47.25")
2
3
2503012
Bolt 1/2" - 13NC x 3" Hex Head Gr. 2
2
4
2502002
Washer 1/2" Springlock
2
5
2500003
Nut 1/2" - 13NC Full Hex
2
NS
101127
Safety Sign - Warning (Insert Spears)
1
NS
101277
Safety Sign - Warning (Read Manual)
1
NS
101474
Safety Sign - Warning (Lockpins)
1