Round Bale Feeder FSO-906 Parts List
Round Bale Feeder FSO-906 Parts List

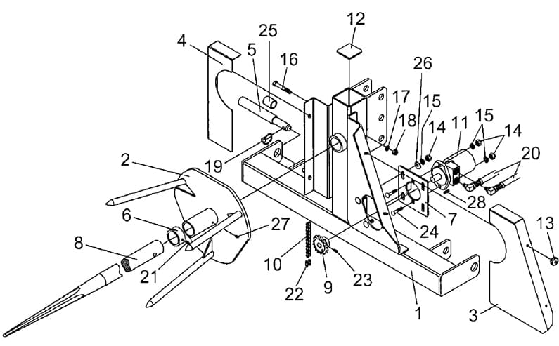
Ref. #
Part #
Description
# Req.
1
831005
Main Weldment - Spin Off
1
2
831010
Spinner Weldment - Spin Off
1
3
830281
Chain Shield - Spin Off (RH)
1
4
830283
Chain Shield Weldment - Spin Off (LH)
1
5
830290
Hitch Pin - Spin Off
2
6
831004
Collar - Spin Off
1
7
830286
Hydraulic Motor Mount - Spin Off
1
8
831268
Forged Spear - Spin Off
1
9
830966
Sprocket - 50B12
1
10
830967
Roller Chain, #50 x 43-3/4" (69 Pitches)
1
11
2505702
Hydraulic Motor (Parker)
1
N/S
2505703
Seal Kit for Parker Hydraulic Motor (Item #11)
12
2504300
Plastic Cap
1
13
2504220
Knob - Spin Off
4
14
2500003
Nut, Hex 1/2" - 13NC
6
15
2502002
Washer, 1/2" Spring Lock
6
16
2503305
Bolt, 5/8"-11NC x 5" Hex Head Gr. 5
1
17
2502007
Washer 5/8" Spring Lock
1
18
2500013
Nut, Hex 5/8" - 11NC
1
19
590006
Linch Pin 7/16" (AK-14)
2
20
2505633
Hydraulic Hose 1/2" I.D. x 60"
2
21
2503316
Set Screw, Socket 1/2"-13NC x 1/2"
1
22
480458
Master Link, #50 Chain
1
23
2503057
Set Screw, Socket 5/16"-18NC x 1/2"
2
24
2503102
Bolt, Carriage 1/2"-13NC x 1-1/2" Gr. 5
2
25
590126
Lift Arm Bushing - Cat. III to Cat. II (AK-58)
2
26
2501003
Washer, 1/2" Medium Flat
4
27
2504049
Drive Zerk 5/16"
1
28
2505646
Key, Square 1/4" x 1.4" x 1" Early Models
1
28
830963
Woodruff Key 0.25" x 1" Current Models
N/S
2505645
Seal Kit for White Hydraulic Motor on Earlier Models
1
N/S
101270
Notice - Grease Zerk
1
N/S
101271
Safety Sign - Danger (Rotating Hay Spike)
1
N/S
101272
Safety Sign - Warning (Moving Chains and Sprocket)
1
N/S
101122
Safety Sign - Warning (High Pressure)
1
N/S
101277
Safety Sign - Warning (Instruction)
1