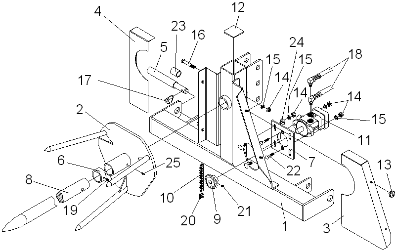
Round Bale Feeder SO-905 Parts List
Round Bale Feeder SO-905 Parts List

Ref. #
Part #
Description
# Req.
1
830951
Main Weldment - Spin Off
1
2
830953
Spinner Weldment - Spin Off
1
3
830281
Chain Shield - Spin Off (RH)
1
4
830283
Chain Shield Weldment - Spin Off (LH)
1
5
830290
Hitch Pin - Spin Off
2
6
830942
Collar - Spin Off
1
7
830286
Hydraulic Motor Mount - Spin Off
1
8
830952
Main Spike - Spin Off
1
9
830966
Sprocket - 50B12
1
10
830967
Roller Chain, #50 x 43-3/4" (69 Pitches)
1
11
2505640
Hydraulic Motor
1
12
2504300
Plastic Cap
1
13
2504220
Knob - Spin Off
4
14
2500003
Nut, Hex 1/2" - 13NC
7
15
2502002
Washer, 1/2" Spring Lock
7
16
2503313
Bolt, 1/2"-13NC x 5" Hex Head Gr. 5
1
17
590006
Linch Pin, 7/16" (AK-14)
2
18
2505633
Hydraulic Hose, 1/2" I.D. x 60"
2
19
2503316
Set Screw, Socket 1/2"-13NC x 1/2"
1
20
480458
Master Link, #50 Chain
1
21
2503057
Set Screw, Socket 5/16"-18NC x 1/2"
2
22
2503102
Bolt, Carriage 1/2"-13NC x 1-1/2" Gr.5
2
23
590126
Lift Arm Bushing - Cat. III to Cat. II (AK-58)
2
24
2501003
Washer, 1/2" Medium Flat
4
25
2504049
Drive Zerk, 5/16"
1
N/S
101270
Notice - Grease Zerk
1
N/S
101271
Safety Sign - Danger (Rotating Hay Spikes)
1
N/S
101272
Safety Sign - Warning (Moving Chains and Sprocket)
1
N/S
101122
Safety Sign - Warning (High Pressure)
1
N/S
101026
Safety Sign - Warning (Instruction)
1