Skid Steer Bale Attachments SSB-2200 Parts List
Skid Steer Bale Attachments SSB-2200 Parts List

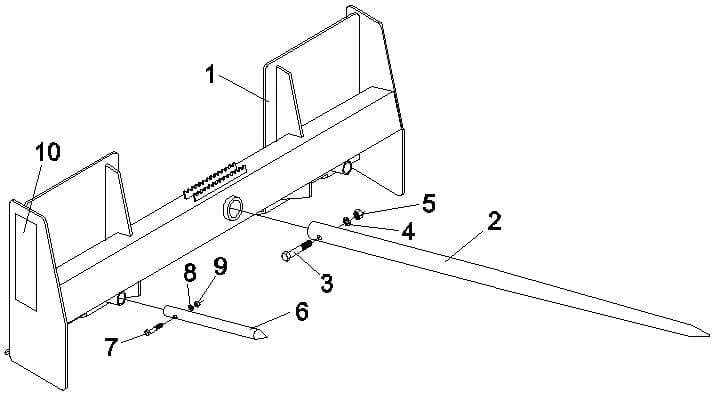
Ref. #
Part #
Description
# Req.
1
831065
Main Frame Weldment (SSB-2200)
1
2
830928
Spear, Bolt-in (47 1/4")
1
3
2503012
Bolt 1/2" - 13NC x 3" Hex Head Gr. 2
1
4
2502002
Washer 1/2" Springlock
1
5
2500003
Nut 1/2" - 13NC Full Hex
1
6
830213
Spike, Balance ø1"
2
7
2503111
Bolt 5/16" - 18NC x 1 3/4" Hex Head Gr.2
2
8
2502011
Washer 5/16" Springlock
2
9
2500011
Nut 5/16" - 18NC Full Hex
2
10
101277
Safety Sign - Warning (Read Manual)
1