Skid Steer Bale Attachments SSB-3000 Parts List
Skid Steer Bale Attachments SSB-3000 Parts List

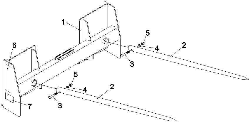
Ref. #
Part #
Description
# Req.
1
831075
Main Frame Weldment (SSB-3000)
1
2
830928
Spear, Bolt-in (47 1/4")
2
3
2503012
Bolt 1/2" - 13NC x 3" Hex Head Gr. 2
2
4
2502002
Washer 1/2" Springlock
2
5
2500003
Nut 1/2" - 13NC Full Hex
2
6
101277
Safety Sign - Warning (Read Manual)
1
7
101127
Safety Sign - Warning (Insert Spears)
1