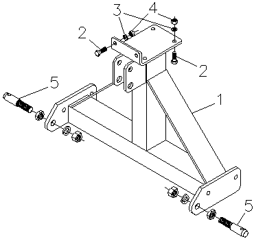
3 Pt. Hitch For HPD-16 & HPD-22Q Models Before October 2000
3 Pt. Hitch For HPD-16 & HPD-22Q Models Before October 2000 Parts List

3 Pt. Hitch For HPD-16 & HPD-22Q Models Before October 2000 Specifications
Ref #
Part #
Description
# Reqd
1
814465
3 Pt. Hitch Mount Weldment
1
2
2503145
Bolt, 1/2"-13NC x 1-1/2" Gr.5 Hex Head
6
3
2502002
Washer, 1/2" Springlock
6
4
2500003
Nut, 1/2"-13NC Full Hex
6
5
590078
Draw Pin, (AK-2118)
2