Heavy Duty Double Flight Augers
Heavy Duty Double Flight Augers Parts List

Heavy Duty Double Flight Augers Specifications
Ref #
Part #
Description
# Reqd
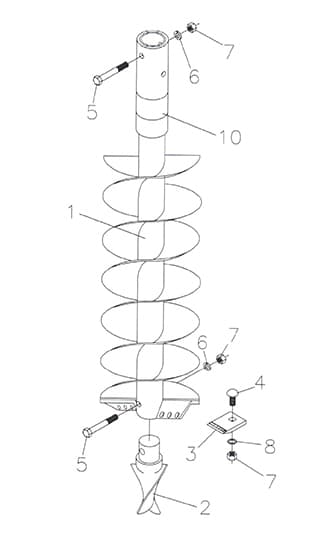
1
706155
6" HD Double Flight Auger, Complete
Opt.
706009
9" HD Double Flight Auger, Complete
Opt.
706012
12" HD Double Flight Auger, Complete
Opt.
706037
14" HD Double Flight Auger, Complete
Opt.
706070
18" HD Flight Auger, Complete
Opt.
706075
24" HD Flight Auger, Complete
Opt.
709045
30" HD Flight Auger, Complete
Opt.
2
170430
Auger Point - Bolt-In Fish Tail
1
3
706021
Red Claw Digger Teeth (Not for 6" auger)
Var.
4
2503102
Bolt, 1/2" - 13 NC x 1 1/2" Carriage Head
Var.
5
2503109
Bolt, 1/2"-13 NC x 3 1/2" Hex Head
3
6
2502002
Washer, 1/2" SpringLock
3
7
2500003
Nut, 1/2"-13 NC Full Hex
Var.
8
2502003
1/2" External Star Lockwasher
Var.
10
101131
Decal - Danger
1
NS
2503178 *
Bolt, 3/8"-16 NC x 1 1/42" Carriage Head (6" only)
2
NS
2502014 *
3/8" External Star Lockwasher (6" only)
2
NS
2500004 *
Nut, 3/8"-16 NC Full Hex (6" only)
2