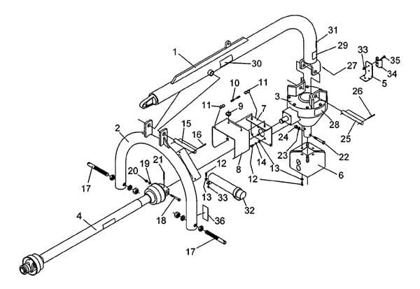
Model 925 Post Hole Digger
Model 925 Post Hole Digger Parts List

Model 925 Post Hole Digger Specifications
Ref #
Part #
Description
# Reqd
1
709541
Boom Weldment
1
2
709010
Yoke Weldment
1
3
709550
Gearbox
1
4
706420
PTO Shaft Complete
1
5
176014
Bracket, SMV Sign
1
6
709555
Gearbox Output Shield (Pair)
1
7
706437
Input Guard Back Weldment
1
8
706435
Input Guard
1
9
2504220
Knob Threaded
2
10
706438
Chain, Safety (3 Links)
1
11
2504016
S-Hook
2
12
2503094
Bolt, 5/16"-18NC x 3/4" Hex Head Gr. 2
10
13
2501012
Washer 5/16" Flat
10
14
2502011
Washer 5/16" Springlock
4
15
830309
Lift Pin (Ø1 x 8" Lg.)
1
16
2504068
Cotter Pin 1/4" x 1 3/4"
2
17
590071
Lift Pin w/Hardware (AK-479)
2
18
2503039
Bolt, 3/8"-16NC x 3" Hex Head Gr. 2
1
19
2502008
Washer 3/8" Springlock
1
20
2500004
Nut, 3/8"-16NC Full Hex
1
21
2504042
Roll Pin, 1/4" x 2 1/4"
1
22
2503109
Bolt, 1/2"-13NC x 3 1/2" Hex Head Gr. 2
2
23
2502002
Washer, 1/2" Springlock
2
24
2500003
Nut, 1/2-13NC Full Hex
2
25
706096
Hanger Shaft (Ø7/8" x 7 3/4")
1
26
706097
Cotter Pin, 3/16" x 2"
2
27
101015
Safety Sign - PHD Instructions
1
28
101188
Safety Sign - Gearbox Notice
1
29
101130
Safety Sign - Danger (Rotating Parts)
1
30
101032
Safety Sign - Danger (Entanglement)
1
31
101358
Safety Sign - 811 (Call Before You Dig)
1
32
2504225
Manual Holder, Plastic
1
33
2500060
Nut 5/16" -18NC Hex Whiz Flange
4
34
2504319
Socket, SMV Sign
1
35
2503113
Bolt 5/16" -18NC x 3/4" Carriage Head Gr. 2
2
36
101209
Safety Sign - Red Reflector 2" x 4 1/2"
2