Model HPD-16 Hydraulic Post Driver
Model HPD-16 Hydraulic Post Driver Parts List

Model HPD-16 Hydraulic Post Driver Specifications
Ref #
Part #
Description
# Reqd
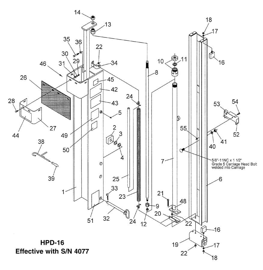
1
814401
Driving Ram Weldment
1
2
814551
Guide Block
4
3
2504132
Machinery Bushing, 1" ID x 18 Ga.
Var.
4
2504110
Machinery Bushing, 1" ID x 14 Ga.
Var.
5
2504049
Drive Zerk 5/16"
2
6
814411
Carriage Weldment
1
815165
Complete Cylinder Assembly (Items #7-#14)
1
7
814417
Tube, Hydraulic Cylinder
1
8
815166
Rod, Hydraulic Cylinder
1
9
814422
Rod Guide, Hydraulic Cylinder
1
10
815170
End Cap Assembly w/Rod Seal
1
11
814523
Rod Seal (only)
1
12
2500054
Nut, 1/2"-13NC Stamplock Hex
1
13
815205
Special Step Nut 7/8" -14NF
1
14
2500017
Nut 7/8" -14NF Full Hex
1
16
814426
Bumper, Urethane
4
17
2502008
Washer, 3/8" Springlock
4
18
2500004
Nut, 3/8"-16NC Full Hex
4
19
814427
Transport Lock Weldment
1
20
814430
Lower Spring Bracket
1
21
2503198
Bolt, 3/8"-16NC x 2 1/2" Gr.8 Full Thread
2
22
2500055
Nut, 3/8"-16NC Stamplock Hex
5
23
814431
Spring, Driving Ram
2
24
814432
Clip, Spring
4
25
814581
Pipe, Plastic Stabilizing
2
26
814433
Rubber Guard
1
27
814629
Guard Retainer
1
28
2503266
Bolt, 5/16"-18NC x 1 1/4" Carriage Head
4
29
2500011
Nut, 5/16"-18NC Full Hex
4
30
2502011
Washer, 5/16" Springlock
4
31
2501012
Washer, 5/16" Flat
4
32
814488
Pin, Transport Lock
1
33
590188
Hair Clip Pin, 5/32" (AK-2705)
1
34
814408
Upper Spring Bracket
1
35
2503201
Bolt, 3/8"-16NC x 2 1/4" Gr.5 Hex Head
1
36
2501004
Washer, 3/8" Flat
1
38
814476
Post Holder w/Handle
1
39
2504129
Handle, Post Holder
1
40
2502007
Washer, 5/8" Springlock
6
41
2500013
Nut, 5/8"-11NC Full Hex
6
42
101056
Safety Sign - Safety Instructions
1
43
101057
Safety Sign - Warning (Set Brake)
1
44
101058
Safety Sign - Warning (Avoid Injury)
1
45
101078
Safety Sign - Caution (Safety Glasses)
1
46
101027
Safety Sign - Warning (Stand Clear)
1
48
101080
Safety Sign - Notice (1/2 Turn Loose)
1
49
101122
Safety Sign - Warning (Hi Pressure)
1
50
101358
Safety Sign - 811 (Know What's Below)
1
51
101318
Safety Sign - Do Not Raise
1
52
101319
Safety Sign - Red Line
1
53
815277
Holder, Limit Decal
1
54
2503038
Bolt 5/16" -18NC Hex Head Gr. 2
2
55
2500046
Nut 5/16" -18 NC Hex Nylock
2