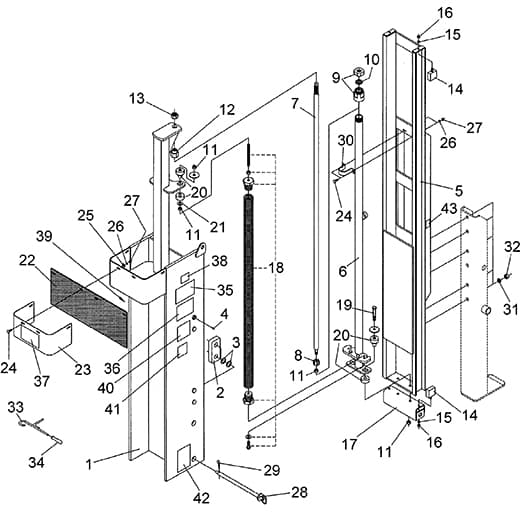
Model HPD-26Q Hydraulic Post Driver
Model HPD-26Q Hydraulic Post Driver Parts List

Model HPD-26Q Hydraulic Post Driver Specifications
Ref #
Part #
Description
# Reqd
1
815353
Driving Ram (DLM-26Q)
1
2
814549
Channel Guide - Double
4
3
2504132
Machinery Bushing, 1"ID x 18 Ga.
8
4
2504049
Drive Zerk 5/16"
2
5
815344
Carriage Weldment (DLM-26Q)
1
815354
Complete Cylinder Assebly (#6 thru #13)
1
6
815347
Tube, Hydraulic Cylinder
1
7
815204
Rod, Hydraulic Cylinder
1
8
814422
Guide, Hydraulic Cylinder Rod
1
9
815170
End Cap Assembly w/Rod Seal
1
10
814523
Rod Seal (Only)
1
11
2500054
Nut, 1/2"-13NC Hex Stamplock
1
12
815205
Special Step Nut 7/8"-14NF
1
13
2500017
Nut, 7/8"-14NF Full Hex
1
14
814426
Bumper, Urethane
4
15
2502008
Washer, 3/8" Springlock
4
16
2500004
Nut, 3/8"-16NC Full Hex
4
17
815341
Transport Lock Bracket
1
18
815276
Spring Assembly
2
19
2503264
Bolt 1/2"-13NC x 3-1/2" Hex Head Gr. 5
2
20
815246
Mount, Vibration - w/Washer
4
21
2501003
Washer, 1/2" Medium Flat
2
22
814993
Guard, Rubber
1
23
814994
Retainer, Rubber Guard
1
24
2503266
Bolt, 5/16"-18NC x 1-1/4" Carriage Head
6
25
2501012
Washer, 5/16" Flat
4
26
2502011
Washer, 5/16" Springlock
6
27
2500011
Nut, 5/16"-18NC Full Hex
6
28
814995
Pin, Transport Lock
1
29
590188
Hair Clip Pin (AK-2705)
1
30
814543
Strap, Cylinder Stabilizer
1
31
2502007
Washer, 5/8" Springlock
5
32
2500013
Nut, 5/8"-11NC Full Hex
5
33
814476
Post Holder w/Handle
1
34
2504129
Handle, Post Holder
1
35
101056
Safety Sign - Safety Instructions
1
36
101057
Safety Sign - Warning (Set Brake Securely)
1
37
101058
Safety Sign - Warning (Avoid Serious Injury)
1
38
101078
Safety Sign - Caution (Safety Glasses)
1
39
101027
Safety Sign - Warning (Stand Clear)
1
40
SW700
Safety Sign - Warning (High Pressure Fluid)
1
41
101358
Safety Sign - 811 (Know What's Below)
1
42
101318
Safety Sign - Do Not Raise
1
43
101319
Safety Sign - Red Line
2