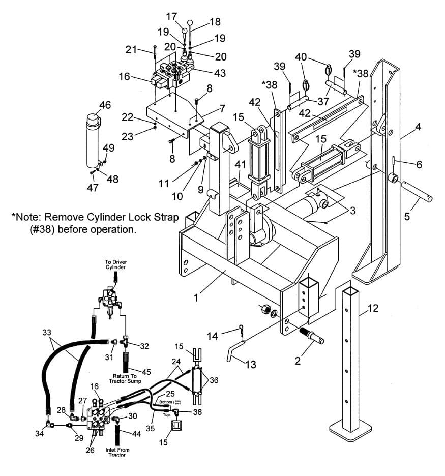
Model SHC Hydraulic Center Mount
Model SHC Hydraulic Center Mount Parts List

Model SHC Hydraulic Center Mount Specifications
Ref #
Part #
Description
# Reqd
1
814695
Center Mount Weldment
1
2
590159
Draw Pin, (AK-4120)
2
3
2504049
Drive Zerk, 5/16"
2
4
814771
Support Channel Weldment w/Foot
1
5
830334
Lift Pin, 1-1/4" x 8"
1
6
2504070
Roll Pin, 5/16" x 2"
1
7
814672
Valve Mount
1
8
2503011
Bolt, 3/8"-16NC x 1" Hex Head Gr. 2
3
9
2501004
Washer, 3/8" Flat
3
10
2502008
Washer, 3/8" Springlock
3
11
2500004
Nut, 3/8"-16NC Full Hex
3
12
814687
Stand Weldment
2
13
343180
Adjustment Pin
2
14
590187
Hair Clip Pin, (AK-2704)
2
15
2504258
Hydraulic Cylinder, 3 x 6
2
16
815085
Valve, 2-Spool
1
17
815087
Handle, Valve (Short)
1
18
815088
Handle, Valve (Long)
1
19
2500088
Nut, M8 Hex
2
20
2502023
Washer, External Star 8mm
2
21
2503098
Bolt, 5/16"-18NC x 2 1/2" Hex Head Gr. 2
3
22
2502011
Washer, 5/16" Springlock
3
23
2500011
Nut, 5/16"-18NC Full Hex
3
24
2505756
Hydraulic Hose, 1/4" ID x 36"
2
25
2505755
Hydraulic Hose, 1/4" ID x 30"
1
26
2505681
90° Elbow, 3/4"-16 ORB Male / 9/16" -18 JIC Male
4
27
815086
Power Beyond Sleeve (1.415 Hex AF)
1
815094
Power Beyond Sleeve (1.285 Hex AF)
28
2505748
90° Elbow, 7/8"-14 ORB Male / 3/4" -16 JIC Male
1
29
2505746
Connector, 3/4"-16 JIC Male to 7/8" -14 ORB Male
1
30
2505737
90° Elbow, 3/4"-16 ORB Male / 3/4" -16 JIC Male
1
31
2505745
Reducer Bushing, 3/4" to 1/2"
1
32
2505747
Swivel Tee 1 1/16" -12 JIC (2) Male (1) Female
1
33
2505752
Hydraulic Hose, 3/8" ID x 36"
2
34
2505736
90° Elbow, 3/4"-16 JIC Male / 3/4" -16 JIC Female
1
35
2505754
Hydraulic Hose, 1/4" ID x 24"
1
36
2505751
90° Elbow 3/4" ORB Male / 9/16" JIC Male w/Orifice
4
37
814758
Pin, Special Cylinder
4
38
814759
Strap, Cylinder Lock
2
39
2504068
Pin, Cotter 1/4" x 1-3/4"
8
40
590034
Linch Pin, 1/4" (AK-61)
4
41
101122
Safety Sign - Warning (Hi-Pressure)
1
42
101202
Safety Sign - Cylinder Strap
1
43
815091
Valve Operator
2
44
2505744
Hydraulic Hose, 1/2" ID x 60"
1
45
2505742
Hydraulic Hose, 1" ID x 96"
1
46
2504225
Manual Holder, Plastic
1
47
2503116
Bolt 1/4" -20NC x 1" Hex Head Gr. 2
2
48
2501006
Washer 1/4" Flat
2
49
2500008
Nut 1/4" -20NC Hex Whiz Flange
2