Models' HPD-16 HSS/P, HPD-22Q HSS/P & HPD-26Q HSS/P Hydraulic Skid Steer Mount
Models' HPD-16 HSS/P, HPD-22Q HSS/P & HPD-26Q HSS/P Hydraulic Skid Steer Mount Parts List

Models' HPD-16 HSS/P, HPD-22Q HSS/P & HPD-26Q HSS/P Hydraulic Skid Steer Mount Specifications
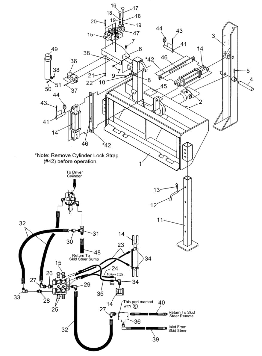
Ref #
Part #
Description
# Reqd
1
814605
Skid Steer Mount Weldment
1
2
2504049
Drive Zerk, 5/16"
2
3
814771
Support Channel Weldment w/Foot
1
4
830334
Lift Pin, 1-1/4" x 8"
1
5
2504070
Roll Pin, 5/16" x 2"
1
6
814672
Valve Mount (2 Spool)
1
7
2503011
Bolt, 3/8"-16NC x 1" Hex Head Gr. 2
3
8
2501004
Washer, 3/8" Flat
3
9
2502008
Washer, 3/8" Springlock
3
10
2500004
Nut, 3/8"-16NC Full Hex
3
11
814687
Stand Weldment
2
12
343180
Stand Pin
2
13
590187
Hair Clip Pin, (AK-2704)
2
14
2504258
Hydraulic Cylinder, 3 x 6
2
15
815085
Valve, 2-Spool
1
16
815087
Handle, Valve (Short)
1
17
815088
Handle, Valve (Long)
1
18
2500088
Nut, M8 Hex
2
19
2502023
Washer, External Star 8mm
2
20
2503098
Bolt, 5/16"-18NC x 2 1/2" Hex Head Gr. 2
3
21
2502011
Washer, 5/16" Springlock
3
22
2500011
Nut, 5/16"-18NC Full Hex
3
23
2505756
Hydraulic Hose, 1/4" ID x 36"
2
24
2505755
Hydraulic Hose, 1/4" ID x 30"
1
25
2505681
90° Elbow, 3/4"-16 ORB Male / 9/16" -18 JIC Male
4
26
815086
Power Beyond Sleeve (1.415 Hex AF)
1
815094
Power Beyond Sleeve (1.285 Hex AF)
27
2505748
90° Elbow, 7/8"-14 ORB Male / 3/4" -16 JIC Male
1
28
2505746
Connector, 3/4"-16 JIC Male to 7/8" -14 ORB Male
1
29
2505737
90° Elbow, 3/4"-16 ORB Male / 3/4" -16 JIC Male
1
30
2505745
Reducer Bushing, 3/4" to 1/2"
1
31
2505747
Swivel Tee 1 1/16" -12 JIC (2) Male (1) Female
1
32
2505752
Hydraulic Hose, 3/8" ID x 36"
2
33
2505736
90° Elbow, 3/4"-16 JIC Male / 3/4" -16 JIC Female
1
34
2505751
90° Elbow 3/4" ORB Male / 9/16" JIC Male w/Orifice
4
35
2505754
Hydraulic Hose, 1/4" ID x 24"
1
36
2505761
Priority Flow Divider Valve
1
37
2503249
Bolt 1/4" -2-NC x 2 1/4" Hex Head Gr. 2
2
38
2500008
Nut 1/4" -20NC Hex Whiz Flange
4
39
2505775
Hydraulic Hose 3/4" ID x 48" w/90° Elbow
1
40
2505776
Hydraulic Hose 3/4" ID x 48"
1
41
814758
Pin, Special Cylinder
4
42
814759
Strap, Cylinder Lock
2
43
2504068
Pin, Cotter 1/4" x 1-3/4"
8
44
590034
Linch Pin, 1/4" (AK-61)
4
45
101122
Safety Sign - Warning (Hi-Pressure)
1
46
101202
Safety Sign - Cylinder Strap
1
47
815091
Valve Operator
2
48
2505764
Hydraulic Hose, 1" ID x 216"
1
49
2504225
Manual Holder, Plastic
1
50
2503116
Bolt 1/4" -20NC x 1" Hex Head Gr. 2
2
51
2501006
Washer 1/4" Flat
2
N/S
2505544
Tie Wrap
12
N/S
101313
Safety Sign - Warning - Property Latched
1