Snow Blade Models SBFL-2790A and SBFL-27108A Parts List
Snow Blade Models SBFL-2790A and SBFL-27108A Parts List

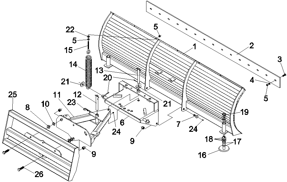
Ref. #
Part #
Description
# Req.
1
360001
Moldboard Assembly w/cutting edge - 90"
1
360071
Moldboard Assembly w/cutting edge -108"
1
2
360010
Cutting Edge - 90"
1
360076
Cutting Edge - 108"
1
3
2503102
Bolt 1/2" - 13NC x 1 1/2" Carriage Head
Va.
4
2502002
Washer 1/2" Springlock
Va.
5
2500003
Nut 1/2" - 13NC Full Hex
Va.
6
360046
Pivot Box Weldment
1
7
360018
Bolt, Blade Pivot (Special)
2
8
360095
Bushing, Oscillation Pivot
3
9
2500037
Nut, Hex Nyloc 3/4 - 10NC
5
10
2504200
Machinery Bushing, 1.25" ID x 10Ga
3
11
360093
A-Frame Sub-Weldment w/Plate
1
12
360060
Adjustment Pin Assembly
1
13
360062
Main Pivot Pin Assembly
1
14
2504247
Spring, Extension 2 3/4" OD x 18 3/4"Lg
2
15
2503327
Eye Bolt 1/2" - 13NC x 7"
2
16
346751
Skid Shoe Weldment
2
17
346746
Spacer, Adjustment 3/4"
6
18
2501034
Washer 1 1/4" Flat
8
19
590006
Linch Pin 7/16" (AK-14)
2
20
2504068
Cotter Pin 1/4" x 1 3/4"
3
21
2501014
Washer 1" Flat
3
22
2501003
Washer 1/2" Flat
2
23
590000
Clip, Hair Pin 1/4" (A-74740)
1
24
2504049
Drive Zerk 5/16"
3
25
360038
FL Frame Weld with Oscillation Plate
1
26
2503085
Bolt, Hex 3/4" - 10 x 2.50 G5
3