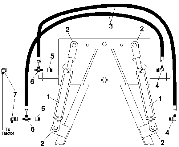
Snow Blade Optional Hydraulic Angle Kit 360168 Parts List
Snow Blade Optional Hydraulic Angle Kit 360168 Parts List
For Tractor Front Loader Applications (For Model SBFL-2790A Only)
Optional Hydraulic Angle Kit

Ref. #
Part #
Description
# Req.
1
2504230
Hydraulic Cylinder 2 x 8
2
2
2504007
Cotter Pin, 3/16" x 1-3/4"
4
3
2505673
Hose, Hydraulic 1/4" ID x 36"
2
4
2505681
Elbow, 90 Deg. Adj. 9/16"-18 to 3/4"-16
2
5
2505710
Bushing, 3/4"-16 to 9/16"-18
2
6
2505711
Tee, Adjustable 9/16" - 18
2
7
2505682
Elbow, 90º Swivel 9/16" - 18
2