Snow Blade Optional Marker Kit 360235 Parts List
Snow Blade Hydraulic Angle Kit 360168 With Cross-Over Relief Valve Kit 360065 Parts List
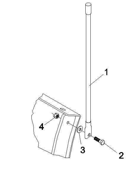
Optional Marker Kit

Ref. #
Part #
Description
# Req.
1
2504230
Plow Marker (Pair)
1
2
2503038
Bolt 5/8" -18NC x 1" Hex Head Gr.2
2
3
2501012
Washer 5/16" Flat
2
4
2500046
Nut 5/8" - 18NC Nylock Hex
2