Clamp-On Bucket Forks BF-2000 Diagram and Parts List
Clamp-On Bucket Forks BF-2000 Diagram and Parts List

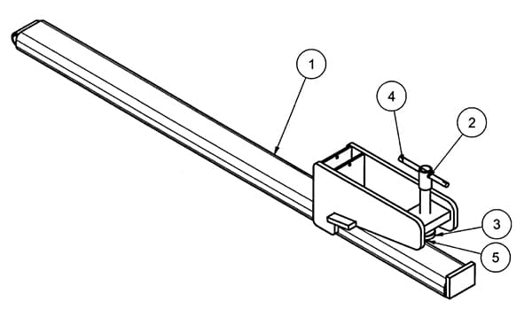
Ref #
Part #
Description
# Req'd
1
831931
Fork Weldment
1
2
831970
Screw Weldment
1
3
831972
Swivel Pad
1
4
590145
Handle, Knock-in
1
5
2503011
Bolt 3/8"-16NC x 1" Hex Head
1
831975
Handle Repair Kit (#'s 2,3,4,5)
1
101408
Safety Sign - Warning
1
101412
Safety Sign - Danger
1
101410
Safety Sign - Capacity (2000 Lbs.)
1