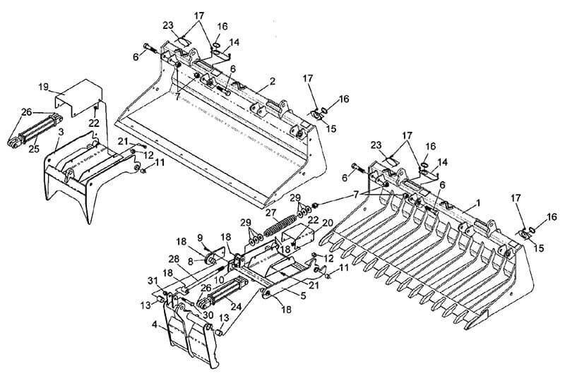
SATG Sweep Action Tine Grapple Diagram and Parts List
SATG Sweep Action Tine Diagram and Parts List
Low Profile Tine Grapple (LPTG)/Low Profile Scrap Bucket (LPSB)/Sweep Action Tine Grapple (SATG)/Sweep Action Solid Bottom Grapple (SASB) - Models 72/78/84

Ref #
Part #
Description
# Req'd
1
812588
Main Frame Weldment (LPTG-72A/SATG-72)
1
812589
Main Frame Weldment (LPTG-78A/SATG-78)
1
812590
Main Frame Weldment (LPTG-84A/SATG-84)
1
2
812591
Main Frame Weldment (LPSB-72A/SASB-72)
1
812592
Main Frame Weldment (LPSB-78A/SASB-78)
1
812593
Main Frame Weldment (LPSB-84A/SASB-84)
1
3
812561
Clamp Weldment (LP Models)
2
4
812532
Rake Weldment (SA Models)
2
5
812541
Rear Clamp Weldment (SA Models)
2
6
2503310
Bolt 1"-8NC x 5" Hex Head Gr. 5
4
7
2500045
Nut 1"-8NC Hex Nylock
Var.
8
812526
Bolted Stub End Weldment (SA Models)
2
9
2503145
Bolt 1/2"-13NC x 1-1/2" Hex Head Gr. 5 (SA Models)
6
10
2500054
Nut 1/2"-13NC Hex Stamplock (SA Models)
6
11
2505035
Spring Bushing (1-1/4" x 1" x 1")
8
12
2505034
Spring Bushing (1-1/4" x 1" x 5/8")
4
13
2505049
Spring Bushing (1-3/4" x 1-1/2" x 1-3/4") (SA Models)
4
14
811789
Plate, Long Grommet Cover
2
15
811785
Plate, Short Grommet Cover
1
16
2505790
Grommet
3
17
2503356
Screw, Thread Cutting 5/16"-18NC x 3/4" Slotted Hex Head
8
18
2504049
Grease Zerk 5/16" Drive
Var.
19
811788
Cover, Cylinder Channel (LP Models)
1
20
812531
Cover, Cylinder Channel (SA Models)
1
21
2503062
Bolt 1/2"-13NC x 1" Hex Head Gr. 2
8
22
2500040
Nut 1/2"-13NC Whiz Flange Hex
8
23
811797
Blank Cover Plate
1
24
2505690
Cylinder, Hydraulic 2 x 10 (SA Models)
1
25
2504230
Cylinder, Hydraulic 2 x 8 (LP Models)
1
26
2504121
Cotter Pin 3/16" x 1-1/2"
4
27
812161
Spring (SA Models)
2
28
812154
Spring Shaft Weldment (SA Models)
2
29
2501014
Flat Washer 1", Medium SAE (SA Models)
12
30
2503254
Bolt 3/4"-10NC x 4-1/2" Hex Head Gr. 5 (SA Models)
2
31
2500037
Nut 3/4"-10NC Hex Nylock (SA Models)
2