Skid Steer Brush Grapple Diagram and Parts List
Skid Steer Brush Grapple Diagram and Parts List
 
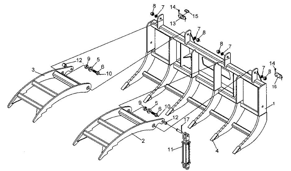
                                                Ref #
Part #
Description
# Req'd
1
812501
Main Frame Weldment (SSGR-84)
1
2
812498
Clamp Weldment, LH
1
3
812513
Clamp Weldment, RH
1
4
811133
Point, Replaceable Grapple (Weld-On)
6
5
811125
Trunnion, Clamp Arm
4
6
811389
Bolt 1"-8NC x 3" Hex Head Gr.5
4
7
2502009
Washer 1" Springlock
4
8
2500001
Nut 1"-8NC Full Hex
4
9
2505036
Bushing 2.00 x 1.75 x 0.75 (Connex)
4
10
2504049
Zerk, Drive 5/16
4
11
2504265
Hydraulic Cylinder 2 1/2 x 10
2
12
2505035
Bushing 1.25 x 1 x 1 (Connex)
4
13
811785
Plate, Short Grommet Cover
1
14
2503356
Screw, Thread Cutting 5/16"-18NC x 34" Slotted Hex Head
4
15
2505790
Grommet
1
16
812149
Cover Plate w/Fitting Holes
1
17
2504007
Cotter Pin 3/16" x 1 3/4"
4
NS
101277
Safety Sign - Caution (Instructions)
1
NS
101027
Safety Sign - Warning (Stand Clear)
2
NS
101122
Safety Sign - Warning (Hi-Pressure)
2
NS
101204
Safety Sign - Notice (Grapples)
2
NS
101129
Safety Sign - Warning (Grapples)
1
