Sub-Compact Tractor Mini Tine Grapple SCG-48S Diagram and Parts List
Sub-Compact Tractor Mini Tine Grapple SCG-48S Diagram and Parts List

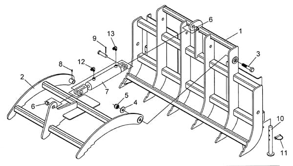
Ref #
Part #
Description
# Req'd
1
811691
Main Frame Weldment SCG-48S
1
2
811680
SCG Clamp Weldment
1
3
2503308
Bolt 3/4"-10NC x 3-1/2" Hex Head Gr. 5
2
4
2501032
Washer 3/4" SAE Flat
2
5
2500037
Nut 3/4"-10NC Hex Nylock
2
6
803185
Spring Bushing 1" x 3/4" x 5/8"
2
7
2505822
Hydraulic Cylinder 1-1/2" x 8
1
8
2504049
Grease Zerk 5/16" Drive
2
9
2504015
Cotter Pin 1/8" x 1-1/2"
2
10
811686
Stand Weldment
2
11
590194
Lock Pin 5/16" (AK-2907)
2
12
2505712
90° Adjustable Elbow 9/16" to 9/16"
1
13
2505831
90° Adjustable Elbow 9/16" to 9/16" w/Orifice
1
N/S
101122
Safety Sign, Warning (Hi-Pressure)
1
N/S
101297
Safety Sign, Warning (Crush/Pinch)
1
N/S
101129
Safety Sign, Warning (Injury)
1
N/S
101295
Safety Sign, Warning (Crushing Hazard)
1
N/S
101221SM
Safety Sign, Warning
1
N/S
101204SM
Safety Sign, Warning
1
N/S
101313
Safety Sign, Warning
1