Landscape Rakes DGW-20 Parts List
Landscape Rakes DGW-20 Parts List
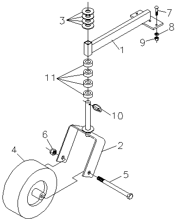
Optional Dual Gauge Wheel Package

Ref. #
Part #
Description
# Req.
1
341778
Wheel Support Arm
2
2
341779
Wheel Mount
2
3
2501001
Washer, 1" Flat
8
4
341772
Wheel Assembly (13.00 x 5.00)
2
5
2503188
Bolt, 3/4"-10NC x 9-1/2" Hex Head
2
6
2500037
Nut, 3/4"-10NC Hex Nylock
2
7
2503189
Bolt, 3/4"-16NC x 2" Carriage Head
8
8
2502008
Washer, 3/8" Spring Lock
8
9
2500004
Nut, 3/8"-13NC Full Hex
8
10
590034
Linch Pin, 1/4" (AK-61)
2
11
650974
Bushing, Height Adjustment
8