Landscape Rakes LRHD Series Parts List
Landscape Rakes LRHD Series Parts List
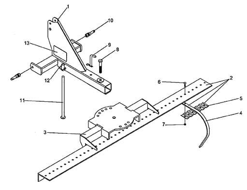
LRHD-6Ft., LRHD-7Ft., & LRHD-8Ft.

Ref. #
Part #
Description
# Req.
1
343510
Mount, 3 Pt. Weldment<
1
2
343625
LRHD-6 Tinebar Assembly
1
343635
LRHD-7 Tinebar Assembly
1
343645
LRHD-8 Tinebar Assembly
1
3
343626
LRHD-6 Tinebar Weldment
1
343636
LRHD-7 Tinebar Weldment
1
343646
LRHD-8 Tinebar Weldment
1
4
341704
Rake Tooth
Var.
5
341705
Tooth Support
Var.
6
2503103
Bolt, Carriage 3/8" - 16NC x 1 1/2" Gr.2
Var.
7
2500081
Nut, Hex 3/8" - 16NC Whiz Flange
Var.
8
2503312
Bolt, Hex 1" - 8NC x 10" Gr. 8
1
9
350030
Adjustment Pin
1
10
590108
Draw Pin (AK-578)
2
11
343571
Stand Tube Weldment
1
12
590194
Lock Pin 5/16" (AK-2907)
1
13
101148
Safety Sign - Caution (Safe Operating)
1