Landscape Rakes MCR Series Parts List
Landscape Rakes MCR Series Parts List
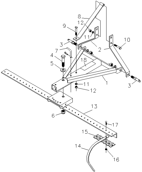
MCR-6Ft. & MCR-7Ft.

Ref. #
Part #
Description
# Req.
1
345140
3 Pt. Mount Frame Weldment
1
2
345147
Toplink Side Bar
2
3
590108
Draw Pin (AK-578)
2
4
2503028
Bolt, 1"-8NC x 5" Hex Head
1
5
2501001
Washer, 1" Flat
1
6
2500045
Nut, 1"-8NC Hex Nylock
1
7
341857
Shift Pin, (1/2" x 3-1/4")
1
8
345145
Brace, Toplink
1
9
2503066
Bolt, 5/8"-11NC x 4" Hex Head
1
10
2503049
Bolt, 5/8"-11NC x 3-1/2" Hex Head
1
11
2502007
Washer, 5/8" Spring Lock
2
12
2500013
Nut, 5/8"-11NC Full Hex
2
13
341901
Tinebar Weldment (MCR-6)
1
13
341907
Tinebar Weldment (MCR-7)
1
14
341704
Rake Tooth (MCR-6)
36
14
341704
Rake Tooth (MCR-7)
42
15
341705
Tooth Support (MCR-6)
6
15
341705
Tooth Support (MCR-7)
7
16
2500081
Whiz-Lok Nut, 3/8" (MCR-6)
36
16
2500081
Whiz-Lok Nut, 3/8" (MCR-7)
42
17
2503103
Bolt, 3/8"-16NC x 1-1/2" Carriage Head (MCR-6)
36
17
2503103
Bolt, 3/8"-16NC x 1-1/2" Carriage Head (MCR-7)
42
18
101148
Safety Sign - Caution
1