Rear Blades RBHD-Series 6T & 7T Parts List
Rear Blades RBHD-Series 6T & 7T Parts List

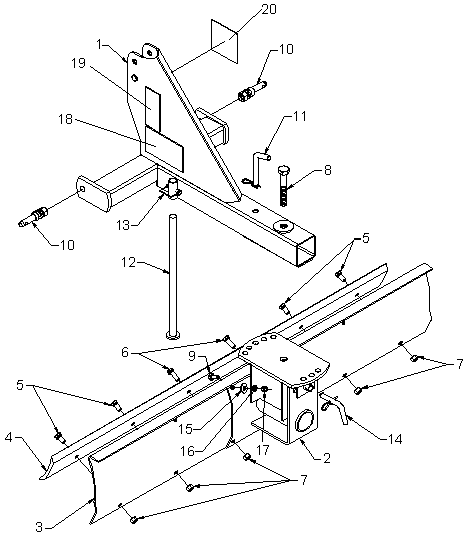
Ref. #
Part #
Description
# Req.
1
343510
Blade 3Pt. Mount Weldment
1
2
346791
Complete Head Weldment
1
3
343545
Moldboard Assembly (RBHD-6T) w/Cutting Edge & Hardware
1
343565
Moldboard Assembly (RBHD-7T) w/Cutting Edge & Hardware
1
4
350405
Cutting Edge 71.5" (RBHD-6T)
1
346731
Cutting Edge 83.5" (RBHD-7T)
1
5
2503045
Bolt, Plow 5/8"-11NC x 1-1/2" Gr.5
Var.
6
2503179
Bolt, Plow 5/8"-11NC x 2" Gr.5
2
7
2500094
Nut, 5/8"-11NC Hex Toplock Gr.5
Var.
8
2503306
Bolt, Hex 1"-8NC x 6-1/2" Gr.8
1
9
2503102
Bolt, Carriage 1/2"-13NC x 1-1/2" Gr.5
2
10
590108
Draw Pin Cat. I (AK-578)
2
11
350030
Angle Adjustment Pin Ø3/4" w/Hair Pin Clip
1
12
343571
Stand Weldment
1
13
590194
Lock Pin, 5/16" (AK-2907)
1
14
343577
Tilt Adjustment Pin, Ø3/4" w/Hair Pin Clip
2
15
2501003
Washer, 1/2" Flat
2
16
2502002
Washer, 1/2" Springlock
2
17
2500003
Nut, 1/2"-13NC Full Hex
2
18
101220
Safety Sign - Warning (Falling Off)
1
19
101212
Safety Sign - Warning (Crush/Pinch)
1
20
101221
Safety Sign - Warning (Injury)
1