Snow Blade Optional Hydraulic Angle Kit 360170 Parts List
Snow Blade Optional Hydraulic Angle Kit 360170 Parts List
For Compact Tractor Front Loader Applications For Small Skid Steer Power Units (Models 2160 and 2172 Blades)
Optional Hydraulic Angle Kit

Ref. #
Part #
Description
# Req.
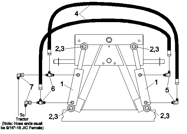
1
360195
Hydraulic Cylinder 2 x 6 1/2
2
2
2504068
Cotter Pin 1/4" x 1 3/4"
4
3
2501001
Washer 1" Flat
4
4
2505672
Hose, Hydraulic 1/4" ID x 30"
2
5
2505712
Elbow, 90º Adj. 9/16" - 18(JIC) to 9/16" - 18 (ORB)
2
6
2505711
Tee, Adjustable 9/16" - 18
2
7
2505682
Elbow, 90º Swivel 9/16" - 18
2